找回密码
 立即注册
澳门威尼斯人
U8
U18
海燕招商
A
蓝盾
e世博
islot.
申博亚洲
B
开云
腾博会
德信
C级广告商
吉祥坊
华体会
查看: 81217|回复: 66

[成长进阶] 【征文活动】浅谈菠菜职业玩家的自我管理能力

[复制链接]

1934

主题

3万

回帖

4261

金币

钻石用户

积分
100540

万时之王老会员超级精华精华勋章勤奋勋章交易勋章

发表于 2025-6-30 16:52 | 显示全部楼层 |阅读模式

马上注册,结交更多好友,享用更多功能,让你轻松玩转社区。

您需要 登录 才可以下载或查看,没有账号?立即注册

×
   
    作为一个职业菠菜玩家,提高自我管理能力,是非常重要的一件事情。自我管理不仅涉及时间的合理安排,更是一种内在自我控制力和对菠菜盈利目标坚定追求的完美融合。以下是自己这么多年在菠菜行业摸爬滚打出来的一些浅显经验,不是很成熟,自己也未必能做的很好,但还是就此分享出来,也是与诸位燕友共享之。


  一、明确目标,制定计划


   设定清晰明确的菠菜目标是自我管理的第一步。无论是短期任务还是长期规划,都需要有一定的、明确的方向。根据SMART原则(具体、可衡量、可实现、相关、时限明确)来设定相关菠菜目标,可以确保目标的可行性与可操作性。


    先从自己本周的一个目标说快来吧。


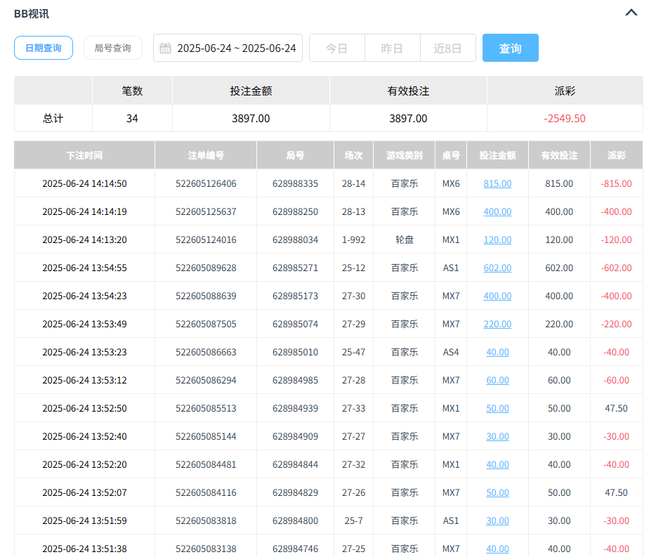
    下图是自己这个月的战绩统计报表。


QQ20250630-152805.jpg

    从报表上可以看出来,自己本月的盈利巅峰是在23号,累计盈利1.41万元,然后24号那天,盈利1200元没有知足,反而倒输了1800多元。之后心态就是有点反复,24-28号五天时间,是累计亏损了7600多元。那么,在这种极端被动的情况下,自己是如何明确目标,制定计划的呢?


     1、最近资金非常匮乏了,手头只有2000不到的应急资金了,也是暂时不敢动用了。因为自己的生活费用开销(买菜做饭、香烟、宽带、电费水费天然气费等等)都是是需要维持和有保障的,否则的话,会严重影响自己菠菜作战的心态。


     2、然后29号靠17块钱反水和彩金,通过两场战斗,打到174收手,让自己赢一天,恢复一点信心。(同时兼顾了实战发帖)


再起的火种2.jpg 再起的火种.jpg
QQ20250630-002226.jpg QQ20250630-001526.jpg

     3、刚才实战发帖,存款175到提款262,这样,今天也是休战了,让自己连赢两天来进一步恢复信心。(兼顾了论坛实战发帖)


QQ20250630-150116.jpg QQ20250630-145428.jpg

     4、借助明天金沙娱乐城会到账300兑换筹码,加上本金262,希望在本周之内,打到1000。


     5、然后用着这个1000,打存送活动,尽量多赢一点,输点也是要做好止损。


QQ20250630-000535.jpg QQ20250630-000217.jpg

下图是上周在这家公司的存款与取款截图,虽然其他公司输钱了,这家公司还是赢钱的)


QQ20250630-000247.jpg QQ20250630-000429.jpg

     6、完成论坛hhgame和金沙公司每天的签到(可以每天有一个3-8元的红包),同时完成实战发帖(自己两个实战发帖也是可以收入30元左右的金币),让自己的每一次作战,都是带有心理优势,有+ev。


     7、兼顾周四的ag大奖连连转活动,也是每周必须要参加的。因为每周四,四个公司每个公司玩ag1000流水,一共4000流水,可以必中一个,这几次比较少中奖只有80左右,上几次都是130左右,加上不中的账号有十几块钱的参与奖,也是有+ev的


QQ20250630-155728.jpg 大奖连连转.jpg

      8、至于最终这点钱能发育到多少(262+300),我可以负责任的说,今年以来,自己在上头惨败之后,通过类似的方式,多次200左右本金,打到15000以上,所以,信心是肯定有的。


      9、坚决不再胡乱充值投注,每一次存款战斗,都要有一定的目标,达到相应的效果。这样,心态上永远处于一定的上风,比如到周六,一定要有800-2000的资金到金沙打筹码兑换门票,继续为下一周的作战奠定良好的心理基础。


     10、如果本周的计划未能达成,输了,那再考虑动用2000资金里面的一部分。但相信在这样一个丝丝入扣、良性循环的过程中,即使输钱了,也是可以收获不少信心的,为自己今后长远的菠菜作战目标,还是可以奠定很好的基础。


      二、 科学管理时间,提高效率,培养良好的习惯


       时间管理是自我管理的核心。通过合理安排工作与休息的时间,避免长时间无休止的工作,可以提高效率。
        
     作为一个职业玩家,最大的优势就是有很多时间菠菜,但是同时也是会造成恋战,烂赌。因此,我们一定要科学管理时间,(以前的征文中自己也是谈到类似华罗庚的科学统筹法,有兴趣的燕友也是可以去看一下)


    我现在每天的时间管理就是坚持每天跟着80岁的老母亲学着种种菜,然后浇水施肥除虫也是样样开始精通了。每天散步,然后做一些美食,适当喝点小酒放松一下。一周外出一次,逛逛商场超市,洗澡做个按摩之类的。通过类似的这样的科学管理时间,有效的调整自己的心态,养成良好的生活习惯,让菠菜成为一种乐趣,而不是一种沉重的负担。



     三、拒绝烂赌,专注于目标:避免浪费时间在与目标无关的事情上,坚决不乱充值,不烂赌,专注于目标。


      其实几天前这一次的溃败,也是源于自己的一次烂赌。


QQ20250630-154611.jpg QQ20250630-154723.jpg


       24号到深夜1点多钟,自己完成了当天的实战发帖,然后当天也是有盈利1200,根本就是没必要继续战斗了。结果那天自己有点兴奋,睡不着觉,然后发神经病,到一家公司存款1200,想用利润冲一下,结果惨遭洗白,后续就是有点忍不住了,二存1300多三手不中就是再次洗白,剩500多到另外一家公司梭哈洗白。钱包没有钱了,才消停,是不是很可笑?以前这家公司入款1+反水0.6,还有很多优惠活动,那去玩玩,还是有点理由的,可现在这家公司不给我优惠了,入款也是降成0.5+反水0.6,那我是有病才去他家玩的。


     所以,一定要拒绝自己的赌瘾,专注于自己的目标。(比如每天打卡,发实战贴)


    四、定期回顾总结,不断改进。


    通过自我反思,分析哪些做得好、哪些需要改进,并根据总结结果,调整行动计划。


     五、设定现实的目标,不要追求完美。


   设定合理的菠菜盈利目标,享受每一次小心成功的喜悦,从而让自己的心态,永远处于健康向上的状态,避免完美主义带来的压力和焦虑。


    六、保持耐心和毅力,不断加强自己的自控力


     自我管理是一个长期的过程,需要耐心和毅力,相信自己,坚持下去,终将获得成功。


      这样,通过以上一些方法,可以逐步培养我们的自我管理能力,从而在菠菜这条路上,可以走的更稳、更踏实,成为更高效的自己!


回复

使用道具 举报

1

主题

4994

回帖

4198

金币

金牌会员

积分
23389

老会员

发表于 2025-6-30 16:58 | 显示全部楼层
烂赌肯定是不行,往好的地方努力会赢,话说回来也看运气
回复 支持 反对

使用道具 举报

46

主题

1万

回帖

1372

金币

金牌会员

积分
24942

老会员

发表于 2025-6-30 18:46 | 显示全部楼层
楼主的这个记录,确实是很不错的,能够坚持下来,肯定是能够盈利的。
回复 支持 反对

使用道具 举报

792

主题

2万

回帖

1万

金币

铂金用户

积分
94337

老会员精华勋章魅力达人

发表于 2025-6-30 19:01 来自手机 | 显示全部楼层
职业玩家最基本的原则就是不能烂赌,管理好自己的赌瘾非常重要。
回复 支持 反对

使用道具 举报

1211

主题

3万

回帖

614

金币

铂金用户

积分
90714

老会员交易勋章光影行者

发表于 2025-6-30 19:22 来自手机 | 显示全部楼层
楼主的自我管理能力还是比较强的了,不过也还是会有缺陷的了。
回复 支持 反对

使用道具 举报

1211

主题

3万

回帖

614

金币

铂金用户

积分
90714

老会员交易勋章光影行者

发表于 2025-6-30 19:23 来自手机 | 显示全部楼层
shunlifeiup 发表于 2025-6-30 16:58
烂赌肯定是不行,往好的地方努力会赢,话说回来也看运气

千万不要乱赌啊,真的是要好好的摆正自己的位置的了,调整自己的心态的了。
回复 支持 反对

使用道具 举报

1211

主题

3万

回帖

614

金币

铂金用户

积分
90714

老会员交易勋章光影行者

发表于 2025-6-30 19:23 来自手机 | 显示全部楼层
linx1978 发表于 2025-6-30 19:01
职业玩家最基本的原则就是不能烂赌,管理好自己的赌瘾非常重要。

玩到一个什么程度就要休息,我们是一定要好好的搞清楚的了。
回复 支持 反对

使用道具 举报

53

主题

9448

回帖

4170

金币

金牌会员

积分
25753

老会员

发表于 2025-6-30 19:26 | 显示全部楼层
老哥的自我管理能力是超强的,心态也好,也能执行到位,
回复 支持 反对

使用道具 举报

2万

主题

1万

回帖

2万

金币

版主

积分
94562

超级精华老会员版主勋章

发表于 2025-6-30 19:45 | 显示全部楼层
楼主的自我管理能力太强大了啊,每次都看到你超强的心态和好的策略
回复 支持 反对

使用道具 举报

2万

主题

1万

回帖

2万

金币

版主

积分
94562

超级精华老会员版主勋章

发表于 2025-6-30 19:45 | 显示全部楼层
青萍之末 发表于 2025-6-30 19:26
老哥的自我管理能力是超强的,心态也好,也能执行到位,

这个论坛我最佩服的就是这位老哥了,竟然可以成为职业玩家
回复 支持 反对

使用道具 举报

480

主题

3万

回帖

4665

金币

铂金用户

积分
84327

老会员美女勋章勤奋勋章交易勋章

发表于 2025-6-30 20:09 | 显示全部楼层
有目标计划也是很不错的,赢回来是可以希望的,管理是必须的
回复 支持 反对

使用道具 举报

1833

主题

5万

回帖

4001

金币

钻石用户

积分
174508

万时之王老会员勤奋勋章交易勋章

发表于 2025-7-1 06:18 来自手机 | 显示全部楼层
shunlifeiup 发表于 2025-6-30 16:58
烂赌肯定是不行,往好的地方努力会赢,话说回来也看运气

哥,那当然是不行的了,确实没有运气,这个是很难赢钱
回复 支持 反对

使用道具 举报

1833

主题

5万

回帖

4001

金币

钻石用户

积分
174508

万时之王老会员勤奋勋章交易勋章

发表于 2025-7-1 06:18 来自手机 | 显示全部楼层
linx1978 发表于 2025-6-30 19:01
职业玩家最基本的原则就是不能烂赌,管理好自己的赌瘾非常重要。

这个是必须要好好的管理好自己的,但是职业玩家应该是没有问题
回复 支持 反对

使用道具 举报

1833

主题

5万

回帖

4001

金币

钻石用户

积分
174508

万时之王老会员勤奋勋章交易勋章

发表于 2025-7-1 06:18 来自手机 | 显示全部楼层
不过我还是比较相信你的管理能力了,毕竟你作为职业已经是很不错了
回复 支持 反对

使用道具 举报

36

主题

1万

回帖

3789

金币

千足金牌会员

积分
50064

老会员美女勋章光影行者

发表于 2025-7-1 07:39 | 显示全部楼层
要做到自我管理就要确定好目标,做到计划,主要还是要执行到位
回复 支持 反对

使用道具 举报

您需要登录后才可以回帖 登录 | 立即注册

本版积分规则

广告合作|评测有奖|福利汇|论坛简介|钱包合集|手机版|小黑屋|Archiver|海燕论坛

快速回复 返回顶部 返回列表