找回密码
 立即注册
澳门威尼斯人
U8
U18
海燕招商
A
蓝盾
e世博
islot.
申博亚洲
B
开云
腾博会
德信
C级广告商
吉祥坊
华体会
查看: 29585|回复: 63

[彩票] 【实战有奖】澳门威尼斯人 9月22日台彩宾果5单连打,千元资金小亏78元

[复制链接]

50

主题

2万

回帖

5571

金币

千足金牌会员

积分
66540

老会员光影行者

发表于 2025-9-22 16:31 | 显示全部楼层 |阅读模式

马上注册,结交更多好友,享用更多功能,让你轻松玩转社区。

您需要 登录 才可以下载或查看,没有账号?立即注册

×
资金往来和投注流水都放出来,输赢数据一清二楚。虽说整体亏损不大,但过程曲折,值得写个复盘总结,也方便坛友们交流经验。
' e$ u' X2 @( N6 M
一、资金进出明细

/ |; v# p& ^! n3 S5 _
从账户明细图上可以看到,今天资金主要在 大厅与BBIN彩票 之间来回切换:

0 |1 `* s! t6 p' l9 \- j5 H
15:50:从大厅转出 1050.15元 到 BBIN 彩票账户。
2 P* ]) @) G: u& I
16:23:BBIN 彩票结算后转回大厅 972.15元。

: D8 f5 a' g( b) H. |! R
换句话说,我拿出1050元作为实战本金,经过一轮下注后,最终回到大厅的资金是972元,整体小亏78元。

! Y* D; C* ~; x7 X/ M) V
二、投注记录回顾
* N1 b& O3 s+ f
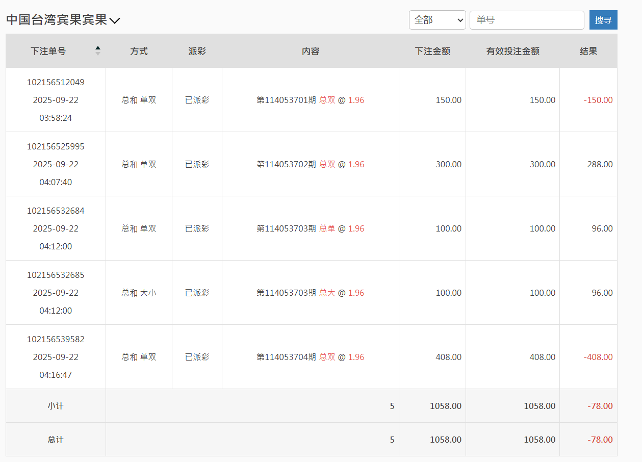
下注明细主要集中在 中国台湾宾果 的单双、大小玩法。时间段是凌晨 3:58 到 4:16,共下了 5 单,总投入 1058 元。

0 U3 t. y9 X+ F# Q
具体如下:
+ A+ w- M4 x, g! d1 i
第114053701期 总双 @1.96
投注150元,结果亏损,-150元。

6 Z' H" h* \/ P- n& B+ ]
第114053702期 总双 @1.96
投注300元,中奖派彩288元,等于小赚-12元(实际上赔率稍有差异)。

  w7 Q! O* H3 m' I5 V. c
第114053703期 总单 @1.96
投注100元,派彩96元,小赚-4元。
/ P2 ~# R6 w2 k- L: `8 [$ Y2 z
第114053703期 总大 @1.96
投注100元,派彩96元,同样微亏4元。

* Y* Z- m6 c& Z* U) N* e* r2 Z- Q; i
第114053704期 总双 @1.96
投注408元,结果失利,-408元。
! a/ x+ a; U2 G* B" n. s
小结:
7 f/ s. t2 ]0 J0 q8 J% h* B+ z
总下注额 1058元

1 p1 {* N$ E8 `2 s- d# K
总结果 -78元

/ K1 x& R8 v' l/ k# b
有效投注 1058元

4 Y- s0 P' h8 b( H" Y1 ]
虽然看似金额不大,但起伏明显,尤其最后一单408元的重注,直接把前面几手的努力全部打掉。

  L; s' M( Q! o' [3 ?' u
三、实战中的问题

  b5 s$ s" \) _/ h* V
开局方向不稳
第一手就150元押“双”,结果直接亏,导致后续心态偏急。

0 {' y% q1 |+ W1 j  w, F: b, P
加注策略混乱
第五手突然加到408元,这其实就是想一把翻本,结果正好遇上失利,亏损被放大。
$ X2 g" z0 e& D5 e3 G$ m7 \( ~
赔率差异小
宾果的单双/大小,赔率都在1.96上下,长期拼下来很容易被水钱吃掉。今天虽然有几单“中”,但派彩比下注额略低,看起来是赢,其实也是亏。

+ D! x' K: L2 f! C0 r( Y* I
四、经验总结
9 G& ~8 n* R; B) h' u" u; c) J
不要冲动加注
今天最致命的就是最后一手408元。前面都是百元级别,突然放大到四百,结果输了直接吃掉全部利润,得不偿失。
/ d1 k4 V0 J' i6 d! T) E
合理规划资金
1050元本金,本可以拆分成十几手小注慢慢打,把波动摊平。但因为急于回血,结果越陷越深。
$ [% M; n# ^1 B$ z
赔率细节要注意
1.96看似接近2,其实长期下来是巨大的差别。如果打法不精准,边际损失会被放大。
& W" \7 r7 N: `8 F
控制节奏
今天的下注时间都集中在20分钟内,连下5手,几乎没停顿。其实完全可以隔几期观察走势,而不是短时间硬刚。

' |1 h3 M$ q& a" g: H
五、结语
' O  \. K3 w8 B1 J
这次实战虽然只亏了78元,但过程暴露了很多问题:冲动、乱加注、没设止损。要不是最后一手重注失利,今天其实还能保本。

8 R/ u) Q9 ]% r! l; o3 y: R1 i7 O
以后计划改进打法:
: ~) {1 l$ F" C: G8 ]& a
每手控制在100-200元,不随意放大;
9 |6 U& e( c7 r4 A' N3 O8 ~( p, J
设置止损点,比如亏损超过300元就收手;
0 |% v, _6 ~5 @6 y- p2 w  }7 l) x" Y
拉长观察时间,不必每期都上。

6 k$ f" m, s& j2 `$ W3 i! d8 ^% ^
兄弟们,你们在玩台湾宾果的时候,一般是倍投翻身,还是小注慢磨?欢迎在楼下交流思路,互相借鉴下经验。
QQ20250922-162509.png QQ20250922-162336.png

& j. S& B" }4 ^# N
回复

使用道具 举报

25

主题

6440

回帖

1153

金币

金牌会员

积分
20671

老会员光影行者

发表于 2025-9-22 16:54 | 显示全部楼层
运气很一般呀,大注码没有中奖成功,确实非常可惜的
回复 支持 反对

使用道具 举报

335

主题

1532

回帖

4829

金币

银牌会员

积分
13634

老会员交易勋章

发表于 2025-9-22 22:03 | 显示全部楼层
好在输的不多 慢慢积累经验 争取一次赢个大的啊!
回复 支持 反对

使用道具 举报

58

主题

4万

回帖

1524

金币

钻石用户

积分
122285

万时之王老会员勤奋勋章交易勋章光影行者

发表于 2025-9-23 06:41 | 显示全部楼层
遗憾的结果了,也是没有办法了,亏损了一天的 伙食费也是很无奈的了难搞的!
回复 支持 反对

使用道具 举报

58

主题

4万

回帖

1524

金币

钻石用户

积分
122285

万时之王老会员勤奋勋章交易勋章光影行者

发表于 2025-9-23 06:41 | 显示全部楼层
sq1188 发表于 2025-9-22 22:03. \: c$ b7 m5 ]$ z' [
好在输的不多 慢慢积累经验 争取一次赢个大的啊!
. h6 D$ S. C8 l5 q% t7 U7 R
确实是,慢慢的来,总会有盈利的时候了,一定要好好的把握一下加油多赚钱吧!
回复 支持 反对

使用道具 举报

58

主题

4万

回帖

1524

金币

钻石用户

积分
122285

万时之王老会员勤奋勋章交易勋章光影行者

发表于 2025-9-23 06:41 | 显示全部楼层
决战夕阳 发表于 2025-9-22 16:54
; D; x+ |7 A/ c& o: U, t' G& V运气很一般呀,大注码没有中奖成功,确实非常可惜的

" [/ C( d* e& m' j: ]* `5 W3 o确实是可惜了 ,也是没有办法了,所以太需要有个好运气的啊!
回复 支持 反对

使用道具 举报

1835

主题

5万

回帖

4275

金币

钻石用户

积分
175319

万时之王老会员勤奋勋章交易勋章

发表于 2025-9-23 07:25 | 显示全部楼层
决战夕阳 发表于 2025-9-22 16:54
/ A" y' b$ k2 D3 R运气很一般呀,大注码没有中奖成功,确实非常可惜的

0 ?' V; g; e6 H6 I3 \这个结果是真的比较可惜的希望下一次是能够赢回来的吧+ d; c9 ?4 A* |+ B
回复 支持 反对

使用道具 举报

1835

主题

5万

回帖

4275

金币

钻石用户

积分
175319

万时之王老会员勤奋勋章交易勋章

发表于 2025-9-23 07:25 | 显示全部楼层
奔四 发表于 2025-9-23 06:41
8 T" o7 R7 b: s; U( S' _' _确实是可惜了 ,也是没有办法了,所以太需要有个好运气的啊!
2 S' ^2 c6 R& \" y8 D
这个没有运气当然是不行的了运气不好一点办法都没有
3 Z5 t3 R* I& y* J# s# O
回复 支持 反对

使用道具 举报

1835

主题

5万

回帖

4275

金币

钻石用户

积分
175319

万时之王老会员勤奋勋章交易勋章

发表于 2025-9-23 07:25 | 显示全部楼层
这样的损失也是真的比较遗憾的希望下次能够打回来吧
$ c3 S" A3 S+ r) G9 y& v: U
回复 支持 1 反对 0

使用道具 举报

2292

主题

7万

回帖

9122

金币

海燕硕士

积分
219086

老会员超级精华精华勋章美女勋章勤奋勋章交易勋章万时之王

发表于 2025-9-23 07:27 | 显示全部楼层
亏损了几十块钱也是因为运气不好我也能理解你的心情
回复 支持 反对

使用道具 举报

2292

主题

7万

回帖

9122

金币

海燕硕士

积分
219086

老会员超级精华精华勋章美女勋章勤奋勋章交易勋章万时之王

发表于 2025-9-23 07:28 | 显示全部楼层
yb454553 发表于 2025-9-23 07:25
) r  Q: g8 g! ]$ B这样的损失也是真的比较遗憾的希望下次能够打回来吧
2 F  I8 U* r( |& L5 B1 y
这个损失已经出现了,也是自己的一个原因,不好玩的呀
回复 支持 反对

使用道具 举报

2292

主题

7万

回帖

9122

金币

海燕硕士

积分
219086

老会员超级精华精华勋章美女勋章勤奋勋章交易勋章万时之王

发表于 2025-9-23 07:28 | 显示全部楼层
yb454553 发表于 2025-9-23 07:25' X2 S1 X* U- \
这个没有运气当然是不行的了运气不好一点办法都没有
/ Z5 x! o! r$ R! ^9 ?
运气不行就不要玩,不然亏损的也是自己吧
回复 支持 反对

使用道具 举报

2292

主题

7万

回帖

9122

金币

海燕硕士

积分
219086

老会员超级精华精华勋章美女勋章勤奋勋章交易勋章万时之王

发表于 2025-9-23 07:28 | 显示全部楼层
奔四 发表于 2025-9-23 06:41
5 d9 a7 F0 L) c确实是可惜了 ,也是没有办法了,所以太需要有个好运气的啊!
) E/ S0 c8 f( E
这样子可惜的话就不要玩了,输的多了也是难受
回复 支持 反对

使用道具 举报

2292

主题

7万

回帖

9122

金币

海燕硕士

积分
219086

老会员超级精华精华勋章美女勋章勤奋勋章交易勋章万时之王

发表于 2025-9-23 07:28 | 显示全部楼层
奔四 发表于 2025-9-23 06:41
, i3 y5 u3 K& Z3 c$ _' m$ b确实是,慢慢的来,总会有盈利的时候了,一定要好好的把握一下加油多赚钱吧!  ...

% ^0 {, y- `2 z% P8 B; B问题是不知道什么时候盈利,也只是自己的一个猜测
回复 支持 反对

使用道具 举报

2292

主题

7万

回帖

9122

金币

海燕硕士

积分
219086

老会员超级精华精华勋章美女勋章勤奋勋章交易勋章万时之王

发表于 2025-9-23 07:28 | 显示全部楼层
sq1188 发表于 2025-9-22 22:03
+ K1 N+ E! p6 e& m4 H好在输的不多 慢慢积累经验 争取一次赢个大的啊!
: \6 H, X8 \9 q2 S
输的不多,就当是一个教训吧,每次我还是小心一点
回复 支持 1 反对 0

使用道具 举报

您需要登录后才可以回帖 登录 | 立即注册

本版积分规则

广告合作|评测有奖|福利汇|论坛简介|钱包合集|手机版|小黑屋|Archiver|海燕论坛

快速回复 返回顶部 返回列表