找回密码
 立即注册
澳门威尼斯人
U8
U18
海燕招商
A
蓝盾
e世博
islot.
申博亚洲
澳门银河
B
开云
腾博会
德信
C级广告商
吉祥坊
华体会
查看: 694|回复: 94

[彩票] 晚上的彩票非常顺利收米390多块钱

[复制链接]

59

主题

2694

回帖

2058

金币

银牌会员

积分
10855

老会员

发表于 2026-3-14 18:41 | 显示全部楼层 |阅读模式

马上注册,结交更多好友,享用更多功能,让你轻松玩转社区。

您需要 登录 才可以下载或查看,没有账号?立即注册

×
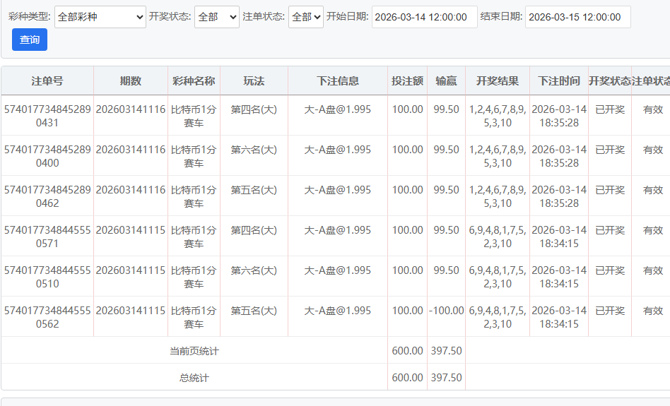
晚上的比特赛车居然能顺利赢到390多块钱,依旧是按100-200-300-450-600的节奏来下注。
" k; l+ J- ~, P 1.jpg 1 C; A! w! s/ |4 d  ], e
2.jpg 2 z6 b, X7 G9 N& X! f+ v+ F# w2 D
3 v$ ~! u5 ]) F" T2 b. K8 Q

0 c+ u0 y# t/ f4 e: P8 P' y) a% u7 [/ l: n$ W0 s6 {
2 i( l2 D9 u( X4 W9 ~& e- o* w

评分

参与人数 1金币 +6 收起 理由
海燕RG + 6 实战分享

查看全部评分

回复

使用道具 举报

210

主题

1万

回帖

1561

金币

千足金牌会员

积分
43242

老会员

发表于 2026-3-14 19:58 | 显示全部楼层
楼主玩彩票游戏非常有策略,更多结果来看也是有效果收获
回复 支持 反对

使用道具 举报

4

主题

70

回帖

631

金币

高级用户

积分
1506
发表于 2026-3-14 20:06 | 显示全部楼层
还是楼主高啊,这场令人满意   
回复 支持 反对

使用道具 举报

7

主题

2万

回帖

1万

金币

铂金用户

积分
77974

光影行者

发表于 2026-3-14 20:38 | 显示全部楼层
这节奏稳得一批,小步慢跑不贪真能扛住波动,下次试试前几轮压更轻点
回复 支持 反对

使用道具 举报

2

主题

8390

回帖

9044

金币

千足金牌会员

积分
42756
发表于 2026-3-15 02:24 | 显示全部楼层
比特赛车按那阶梯节奏下居然收了390多,顺的时候这注码走得还挺稳啊
回复 支持 反对

使用道具 举报

1571

主题

8万

回帖

2万

金币

海燕硕士

积分
255558

万时之王老会员精华勋章勤奋勋章交易勋章光影行者

发表于 2026-3-15 05:48 | 显示全部楼层
楼主也是非常给力的收米了,非常满意的成绩
回复 支持 反对

使用道具 举报

1571

主题

8万

回帖

2万

金币

海燕硕士

积分
255558

万时之王老会员精华勋章勤奋勋章交易勋章光影行者

发表于 2026-3-15 05:48 | 显示全部楼层
蔬菜沙拉 发表于 2026-3-14 20:381 S6 t, `+ n. y5 D( ]
这节奏稳得一批,小步慢跑不贪真能扛住波动,下次试试前几轮压更轻点
$ B% ]% G! v: I0 r' l5 A+ N
我们都是非常喜欢这样的盈利,要祝贺一下楼主的
回复 支持 反对

使用道具 举报

1571

主题

8万

回帖

2万

金币

海燕硕士

积分
255558

万时之王老会员精华勋章勤奋勋章交易勋章光影行者

发表于 2026-3-15 05:48 | 显示全部楼层
思维认知 发表于 2026-3-15 02:24
' F! Q; j: \" F; x9 X0 M  j5 R# H比特赛车按那阶梯节奏下居然收了390多,顺的时候这注码走得还挺稳啊

  ^. D: w. q' N- C# y5 A楼主是个玩彩票的高手,非常让人羡慕的了
回复 支持 反对

使用道具 举报

7

主题

1万

回帖

5692

金币

千足金牌会员

积分
51741

老会员光影行者

发表于 2026-3-15 06:32 | 显示全部楼层
节奏控制得不错,390的收益确实让人心里舒坦,这个下注模式挺稳的
回复 支持 反对

使用道具 举报

0

主题

1630

回帖

3194

金币

银牌会员

积分
11196
发表于 2026-3-15 06:56 | 显示全部楼层
比特赛车这节奏居然能捞到390多?100起步一步步加居然没翻船,手气是真顺啊,羡慕了
回复 支持 反对

使用道具 举报

0

主题

1630

回帖

3194

金币

银牌会员

积分
11196
发表于 2026-3-15 06:57 | 显示全部楼层
思维认知 发表于 2026-3-15 02:24' X: H6 Q. r0 h9 S$ G0 G: d7 c4 r% h
比特赛车按那阶梯节奏下居然收了390多,顺的时候这注码走得还挺稳啊
. d- s1 m' ~) f( }
比特赛车那阶梯节奏居然稳收390多,顺的时候注码走得还挺舒服,看来摸对节奏是真省心,不像有时候瞎搞乱飘
回复 支持 反对

使用道具 举报

2430

主题

8万

回帖

4975

金币

海燕硕士

积分
223218

老会员超级精华精华勋章美女勋章勤奋勋章交易勋章万时之王

发表于 2026-3-15 07:22 | 显示全部楼层
彩票可以赚到这么多的钱也不容易
回复 支持 反对

使用道具 举报

2430

主题

8万

回帖

4975

金币

海燕硕士

积分
223218

老会员超级精华精华勋章美女勋章勤奋勋章交易勋章万时之王

发表于 2026-3-15 07:22 | 显示全部楼层
NO.2 发表于 2026-3-15 06:57
# r4 e5 h  n% s4 o) z3 C比特赛车那阶梯节奏居然稳收390多,顺的时候注码走得还挺舒服,看来摸对节奏是真省心,不像有时候瞎搞乱 ...

) r' I: R) c/ G6 ?有个好的节奏才能稳定的搞钱来的呀
回复 支持 反对

使用道具 举报

2430

主题

8万

回帖

4975

金币

海燕硕士

积分
223218

老会员超级精华精华勋章美女勋章勤奋勋章交易勋章万时之王

发表于 2026-3-15 07:22 | 显示全部楼层
cwx1994 发表于 2026-3-15 05:480 n/ E: I9 J+ D( r. s, M2 {
楼主是个玩彩票的高手,非常让人羡慕的了

' s( m1 Y4 `  G& h* ~1 R) \: N* @确实也算一个高手吧,这样才能赚到钱
回复 支持 反对

使用道具 举报

2430

主题

8万

回帖

4975

金币

海燕硕士

积分
223218

老会员超级精华精华勋章美女勋章勤奋勋章交易勋章万时之王

发表于 2026-3-15 07:22 | 显示全部楼层
123 发表于 2026-3-14 20:06; i" x( s# m5 C- K4 R7 s* g1 m  Q
还是楼主高啊,这场令人满意

) x4 W' X  s2 Q- e( w0 @' O也没有什么好羡慕的吧,几百块钱而已
回复 支持 反对

使用道具 举报

您需要登录后才可以回帖 登录 | 立即注册

本版积分规则

广告合作|福利汇|论坛简介|钱包教程|手机版|小黑屋|Archiver|海燕论坛

快速回复 返回顶部 返回列表